3-Truss - 機械工具・安全保護具通販サイト -


メニュー

新規会員登録(種別選択)

当サイトでは、法人のお客様向けと個人のお客様向けに2種類の会員種別がございます。


法人会員

審査に5営業日ほどかかる場合がございます。
仮発注・承認機能も設けています。

法人会員登録をする

個人会員

審査不要、どなたでも会員登録して頂けます。

個人会員登録をする
0
TOTAL
¥0

現在カート内に商品はございません。

  1. トップページ
  2. /
  3. 荷役用品
  4. /
  5. 吊りクランプ・スリング・荷締機
  6. /
  7. フック
  8. /
  9. TAIYO Vベルフック 0.63t(1013855) VHS-0.63

TAIYO Vベルフック 0.63t(1013855) VHS-0.63

  • 機械工具

メーカー希望小売価格: オープン

¥4,602
¥5,062 (税込)
送料: ―(ご利用ガイド通り)
商品コード: 357-9134
標準納期:5日
在庫数: 10

※在庫数はリアルタイムではありません。(1日5回更新)

発注単位:1個
数量
カートに追加しました。
お買い物を続ける カートへ進む
在庫数以上の数量のため、入荷次第のご発送となります。
お買い物を続ける
メーカー名
大洋製器工業
製造メーカー品番
VHS-0.63
製造メーカー品番2

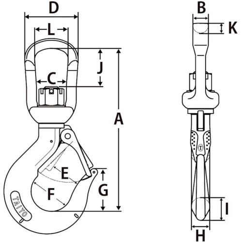
商品スペック

商品説明
●Vフックのスイベルタイプです。
●スイベル式でスリングの撚りを防止します。
●アイ部の拡大でシャックル本体と直接連結可能になります。
●アイ上部のアールを大きくすることで、繊維スリングとの擦れを低減します。
●玉掛け用、吊り索用。
●スイベルタイプ セーフティラッチ付
商品属性
●基本使用荷重(t):0.63
●寸法(mm)A:158
●寸法(mm)B:10.5
●寸法(mm)C:28
●寸法(mm)D:44
●寸法(mm)E:30
●寸法(mm)F:40
●寸法(mm)G:45
●寸法(mm)H:15
●寸法(mm)K:8
●寸法(mm)L:28
●寸法(mm) I:19
●寸法(mm) J:36
●特殊合金鋼
取り扱い注意事項
●フックの先端吊りや当て吊りは、フックの損傷の原因になります。
●使用荷重以下でご使用下さい。
セット内容
質量
0.600KG
原産国
日本
RoHS
適合


メニュー

カテゴリ一から探す