3-Truss - 機械工具・安全保護具通販サイト -


メニュー

新規会員登録(種別選択)

当サイトでは、法人のお客様向けと個人のお客様向けに2種類の会員種別がございます。


法人会員

審査に5営業日ほどかかる場合がございます。
仮発注・承認機能も設けています。

法人会員登録をする

個人会員

審査不要、どなたでも会員登録して頂けます。

個人会員登録をする
0
TOTAL
¥0

現在カート内に商品はございません。

  1. トップページ
  2. /
  3. 工事・照明用品
  4. /
  5. 管工機材
  6. /
  7. 水道配管資材
  8. /
  9. SKカワニシ 塩ビ管用継手 SKX分止水栓用ソケットV20 SKX-BS-V20

SKカワニシ 塩ビ管用継手 SKX分止水栓用ソケットV20 SKX-BS-V20

  • 機械工具

メーカー希望小売価格: ¥1,710 (税別)

¥1,840
¥2,024 (税込)
送料: ―(ご利用ガイド通り)
商品コード: 850-7026
標準納期:5日
在庫数: 7

※在庫数はリアルタイムではありません。(1日5回更新)

発注単位:1個
数量
カートに追加しました。
お買い物を続ける カートへ進む
在庫数以上の数量のため、入荷次第のご発送となります。
お買い物を続ける
メーカー名
川西水道機器
製造メーカー品番
SKX-BS-V20
製造メーカー品番2

商品スペック

商品説明
●分解不要で、管を挿し込んで締めるだけで接続可能です。
●伸縮可とう機能があり、外力を吸収できます。
●離脱防止金具付きで、管の抜けを防ぎます。
●取り外し、再施工が簡単にでき、補修材料にも適しています。
●管の面取りや接着剤塗布が不要で接続できます。
●管上スライド可能により補修や修繕工事に最適です。
●上水道配管、排水配管、海水配管、エア配管などに。
●使用圧力:1MPa
●使用温度:0~45℃
商品属性
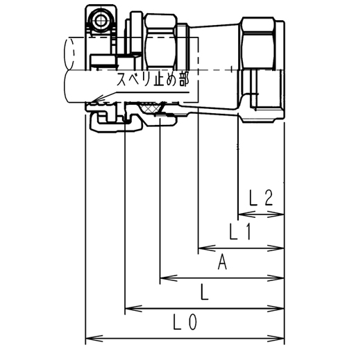
●呼び径:V20
●呼び径(mm):20
●最高使用圧力(MPa):1
●使用温度範囲(℃):0~45
●L(mm):70
●L1(mm):36
●L2(mm):22
●d(mm):20
●A(mm):57
●L0(mm):91
●L3(mm):15.5
●メネジ寸法:1
●バーミキュラ鋳鉄
取り扱い注意事項
セット内容
質量
0.500KG
原産国
日本


メニュー

カテゴリ一から探す