3-Truss - 機械工具・安全保護具通販サイト -


メニュー

新規会員登録(種別選択)

当サイトでは、法人のお客様向けと個人のお客様向けに2種類の会員種別がございます。


法人会員

審査に5営業日ほどかかる場合がございます。
仮発注・承認機能も設けています。

法人会員登録をする

個人会員

審査不要、どなたでも会員登録して頂けます。

個人会員登録をする
0
TOTAL
¥0

現在カート内に商品はございません。

  1. トップページ
  2. /
  3. 金物・建築資材
  4. /
  5. ねじ・ボルト・ナット
  6. /
  7. ナット
  8. /
  9. ラクテム 小形六角ナット SUS304 細目 M10 薄型 HNCS10

ラクテム 小形六角ナット SUS304 細目 M10 薄型 HNCS10

  • 機械工具

メーカー希望小売価格: ¥522 (税別)

¥461
¥507 (税込)
送料: ―(ご利用ガイド通り)
商品コード: 535-3197
標準納期:5日
発注単位:1個
数量
カートに追加しました。
お買い物を続ける カートへ進む
メーカー名
東京パーツセンター
製造メーカー品番
HNCS10
製造メーカー品番2

商品スペック

商品説明
●市販品より薄く、コンパクトに切削したステンレス製の六角細目ナットです。
●厚みは1種ナットと比較し約半分、六角対辺も市販品より1サイズ小さくしています。
●本品より更に薄く加工した極薄型もラインナップがございます。
●緩み止め防止として本品と極薄型のダブルナットも有効です。
●六角ナット
●メートル細目
●薄型
商品属性
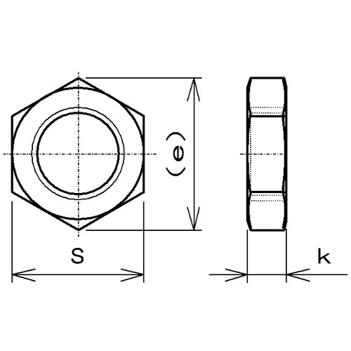
●呼び径:M10
●二面幅寸法(mm):13
●高さ(mm):5
●ナット種類:細目
●ねじピッチ(mm):1.25
●寸法(mm)S:13
●寸法(mm)e:15
●寸法(mm)k:5
●ステンレス(SUS304)
取り扱い注意事項
●通常のナットより厚みが薄い為、強く締め付けると破損するおそれがあります。
●通常のナットより六角対辺が小さい為、当たる面積は少なくなります。
セット内容
質量
2.920G
原産国
日本
RoHS
適合


メニュー

カテゴリ一から探す