3-Truss - 機械工具・安全保護具通販サイト -


メニュー

新規会員登録(種別選択)

当サイトでは、法人のお客様向けと個人のお客様向けに2種類の会員種別がございます。


法人会員

審査に5営業日ほどかかる場合がございます。
仮発注・承認機能も設けています。

法人会員登録をする

個人会員

審査不要、どなたでも会員登録して頂けます。

個人会員登録をする
0
TOTAL
¥0

現在カート内に商品はございません。

  1. トップページ
  2. /
  3. 金物・建築資材
  4. /
  5. 建築金物
  6. /
  7. 手すり・スロープ
  8. /
  9. ECLE ECLE35 Eブラケット横型 ブラウン 1134136 EL-11

ECLE ECLE35 Eブラケット横型 ブラウン 1134136 EL-11

  • 機械工具
  • NEW!

メーカー希望小売価格: ¥1,000 (税別)

¥907
¥998 (税込)
送料: ―(ご利用ガイド通り)
商品コード: 581-9994
標準納期:5日
在庫数: 7

※在庫数はリアルタイムではありません。(1日5回更新)

発注単位:1個
数量
カートに追加しました。
お買い物を続ける カートへ進む
在庫数以上の数量のため、入荷次第のご発送となります。
お買い物を続ける
メーカー名
マツ六
製造メーカー品番
EL-11
製造メーカー品番2

商品スペック

商品説明
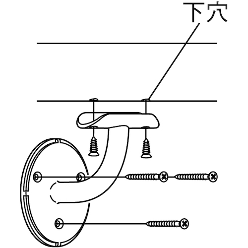
●横型ブラケットのスタンダード品です
●手すり棒の太さ35mm用部品
商品属性
●全長(mm):50
●適合パイプ径(mm):35
●色:ブラウン
●丸座径(mm):50
●摘要:高さ×厚さ(mm):70×71.14
●本体:亜鉛合金
取り扱い注意事項
●縦型としてはご使用できません
●手すりを取り付ける以外には使用しないでください
●浴室や屋外での使用には適していません
●ねじは定期的に緩みが無いか確認してください
●土壁・ユニットバス・石貼には取り付け出来ません
セット内容
●+皿タッピンねじ 3.5×40mm 3本●+丸皿タッピンねじ 3.5×20mm 2本
質量
131.000G
原産国
中国


メニュー

カテゴリ一から探す