3-Truss - 機械工具・安全保護具通販サイト -


メニュー

新規会員登録(種別選択)

当サイトでは、法人のお客様向けと個人のお客様向けに2種類の会員種別がございます。


法人会員

審査に5営業日ほどかかる場合がございます。
仮発注・承認機能も設けています。

法人会員登録をする

個人会員

審査不要、どなたでも会員登録して頂けます。

個人会員登録をする
0
TOTAL
¥0

現在カート内に商品はございません。

  1. トップページ
  2. /
  3. 金物・建築資材
  4. /
  5. 建築金物
  6. /
  7. 荷役金具
  8. /
  9. 水本 ステンレス パワーO型フック 長さ61mm B-3102

水本 ステンレス パワーO型フック 長さ61mm B-3102

  • 機械工具
  • NEW!

メーカー希望小売価格: ¥3,080 (税別)

¥2,034
¥2,237 (税込)
送料: ―(ご利用ガイド通り)
商品コード: 653-6201
標準納期:5日
在庫数: お取り寄せ

※在庫数はリアルタイムではありません。(1日5回更新)

発注単位:1個
数量
カートに追加しました。
お買い物を続ける カートへ進む
在庫数以上の数量のため、入荷次第のご発送となります。
お買い物を続ける
メーカー名
水本機械製作所
製造メーカー品番
B-3102
製造メーカー品番2

商品スペック

商品説明
●シンプルな形状で、耐久性に優れています。
●チェーン・ワイヤー・ロープなどの連結や、端末の金具のジョイントに使用します。
商品属性
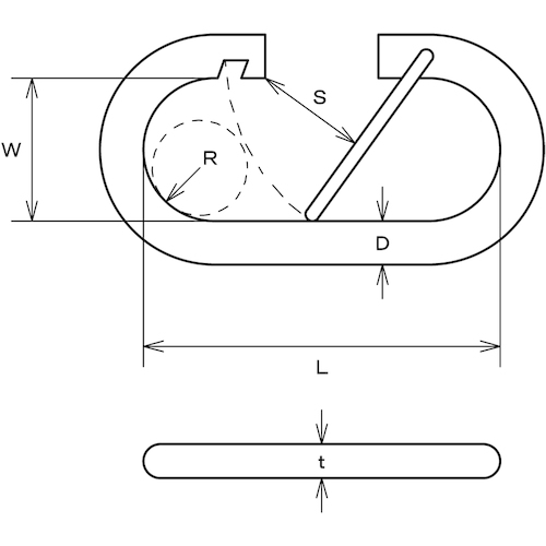
●使用荷重(kN):1.18
●D(mm):10.5
●L(mm):61
●S(mm):18
●W(mm):24
●t(mm):9
●R(mm):7
●参考使用荷重(kg):120
●材質:ステンレス(SUS304)
取り扱い注意事項
セット内容
質量
99.000G
原産国
中国
RoHS
適合


メニュー

カテゴリ一から探す