3-Truss - 機械工具・安全保護具通販サイト -


メニュー

新規会員登録(種別選択)

当サイトでは、法人のお客様向けと個人のお客様向けに2種類の会員種別がございます。


法人会員

審査に5営業日ほどかかる場合がございます。
仮発注・承認機能も設けています。

法人会員登録をする

個人会員

審査不要、どなたでも会員登録して頂けます。

個人会員登録をする
0
TOTAL
¥0

現在カート内に商品はございません。

  1. トップページ
  2. /
  3. 金物・建築資材
  4. /
  5. キャスター
  6. /
  7. プレート式ウレタン車
  8. /
  9. ハンマー 旋回式ウレタン車輪(ローラーベアリング)100mm ストッパー付 419S-URB100

ハンマー 旋回式ウレタン車輪(ローラーベアリング)100mm ストッパー付 419S-URB100

  • 機械工具
  • NEW!

メーカー希望小売価格: オープン

¥2,986
¥3,285 (税込)
送料: ―(ご利用ガイド通り)
商品コード: 336-6745
標準納期:5日
在庫数: お取り寄せ

※在庫数はリアルタイムではありません。(1日5回更新)

発注単位:1個
数量
カートに追加しました。
お買い物を続ける カートへ進む
在庫数以上の数量のため、入荷次第のご発送となります。
お買い物を続ける
メーカー名
ハンマーキャスター
製造メーカー品番
419S-URB100
製造メーカー品番2

商品スペック

商品説明
●荷重に対する抵抗力が大きく、旋回もスムーズな高品質な大型キャスターです。
●取り付け座が大きく機械の移動や重量物搬送用として多く利用されます。
●旋回部にはスチールボールが上下二段に組込まれております。
●重量物運搬用として
●プレート式
商品属性
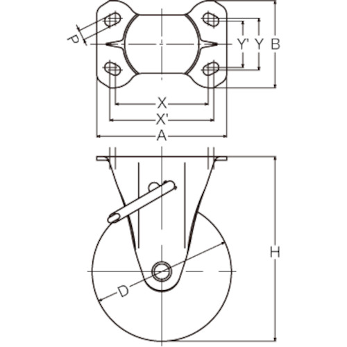
●許容荷重(daN):120
●許容荷重(kgf):122.4
●車輪径D(mm):100
●車輪幅(mm):32
●取付高H(mm):140
●取付座A(mm):108
●取付座B(mm):108
●取付ピッチX(mm):70~80
●取付ピッチY(mm):70~80
●取付穴径P(mm):11
●タイプ:旋回式ストッパー付
●取付高(mm):140
●取付穴径(mm):11
●取付座(mm):108×108
●金具:スチール
●金具表面処理:三価クロム化成処理
●車輪:ウレタン(熱可塑性)
取り扱い注意事項
セット内容
質量
1385.000G
原産国
日本
RoHS
適合


メニュー

カテゴリ一から探す