3-Truss - 機械工具・安全保護具通販サイト -


メニュー

新規会員登録(種別選択)

当サイトでは、法人のお客様向けと個人のお客様向けに2種類の会員種別がございます。


法人会員

審査に5営業日ほどかかる場合がございます。
仮発注・承認機能も設けています。

法人会員登録をする

個人会員

審査不要、どなたでも会員登録して頂けます。

個人会員登録をする
0
TOTAL
¥0

現在カート内に商品はございません。

  1. トップページ
  2. /
  3. 手作業工具
  4. /
  5. クランプ・バイス
  6. /
  7. シャコ万力
  8. /
  9. エビ 強力C型シャコ万力 50mm C50

エビ 強力C型シャコ万力 50mm C50

  • 機械工具

メーカー希望小売価格: ¥4,960 (税別)

¥3,708
¥4,079 (税込)
送料: ―(ご利用ガイド通り)
商品コード: 125-0639
標準納期:5日
在庫数: お取り寄せ

※在庫数はリアルタイムではありません。(1日5回更新)

発注単位:1丁
数量
カートに追加しました。
お買い物を続ける カートへ進む
在庫数以上の数量のため、入荷次第のご発送となります。
お買い物を続ける
メーカー名
ロブテックス
製造メーカー品番
C50
製造メーカー品番2

商品スペック

商品説明
●従来のシャコ万力に比べアゴが深く奥行が十分です。
●頭部は六角レンチ類で確実な締め付けが可能です。
●重量物の据付に最適です。
●ハンドルは脱着可能です。
●溶接作業に。
商品属性
●最大口開き(mm):50
●アゴ深さ(mm):65
●オネジ六角対辺(mm):19
●保証強度(kN):26.8
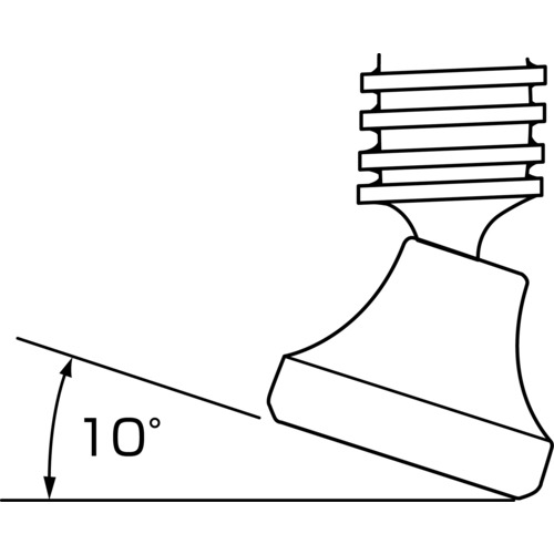
●皿部角度(°):10
●タイプ:C型
●おねじ六角対辺(mm):19
●特殊鋼(本体:鍛造品)
取り扱い注意事項
セット内容
質量
0.920KG
原産国
日本
RoHS
適合


メニュー

カテゴリ一から探す